皆さま、おはようございます
おそうじを通してお客様を笑顔にする
『笑顔創造企業』の
おそうじ革命浜松駅南店の『てっさん』こと
代表の手塚でございます
先日の前橋市長選挙の結果には
ちょっとびっくりしました

こちらの小川市長は
ワイドショーでホテル問題で
お騒がせした前職市長です
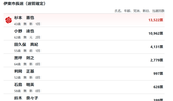
去年の12月中旬の
伊東市長選挙では
これまたワイドショーで学歴詐称問題で
お騒がせした前職市長が
再選挙で落選・・・

てっさんが思うには
学歴詐称のほうがホテル問題より
軽い気がするんだけど・・・
なんでこの差が生まれたか考えます
・選挙戦がうまくできたから??
・党の支援を受けることができたから??
・選挙活動での他より熱量がすごかったから??
問題が発覚してからの対応の差では??
と思うんです。
田久保元市長は
すぐに事実を認めないで謝罪もしなかった
ですので反省する姿勢が伝わらばい
実績は十分なのに
それに対して
小川市長は言い逃れせず
すぐに認め謝罪もして辞職も早かった
そういう姿勢の差を有権者は見ていたのだと思うな
政治家としてではなく人間としてどうなのか??
もちろん選挙期間中は
市民の前で頭を下げまくったと思うのです
かっこいい演説なんてしていないと思う・・・
このふたりの市長再選挙を見て
いくつになっても
素直な心 と 正直な姿勢
は持ち合わせていないといけませね
さて昨日は高市総理大臣が
衆議院解散を検討と
ニュースで流れてきました
内閣総理大臣の歴とした権限です
想うようにやって日本を
よい方向に導いて欲しいものです

それでは良い一日を~
vol.653
てっさんのお店のホームページはコチラ
https://www.osoujikakumei.jp/hamamatsu_ekinan/

